第18篇 大客車六之二
道路交通安全規則附件六之二、使用中及既有車型大客車車身各部規格規定(93.2.27 增訂)
- 車門應設於右側,安全門應設於車身後部中央,如引擎為後置式或後側設有冷氣機者,准設於車身左側之後部或中部。
- 軸距逾 4 公尺之大客車,其門框高至少 185 公分。
- 緊急出口標識:
- 緊急出口標識應以中英文標識於乘客輕易可視之車內及車外緊急出口或其鄰近位置。緊急出口英文標識應為「Emergency exit」。「安全門」中文標識字體,每字至少 10 公分見方。「安全窗」中文標識字體,每字至少 4 公分見方。
- 應於乘客輕易可視之緊急出口控制裝置或其鄰近位置標示操作方法。
- 安全門應備有安全門開啟時對駕駛人之警告裝置,警告裝置可為警鈴或蜂鳴器等。
- 安全門通道係指走道至安全門間之通道,應設置於安全門有效寬之範圍內,且軸距逾 4 公尺之大客車,其安全門通道有效寬度至少 32 公分。
- 安全門通道不得裝設活動式座椅或蓋板,並應保持暢通,軸距逾 4 公尺之大客車,其安全門有效高至少 160 公分,安全門有效寬至少 76 公分,安全門下緣距地高至多 100 公分(市區雙層公車之上層安全門不受此限,自81年12月31日以前新領牌車輛不受安全門下緣距地高至多 100 公分之限制)。
- 大客車車身兩側每側至少各5 面安全窗,安全窗每面開度均應可達 90 度以上,安全窗每面有效面積至少 9000 平方公分;有效面積指安全窗打開後窗框之淨長乘以淨寬所得乘積;設有安全門者得免設安全窗,設有安全窗者得免設安全門。
- 車窗擊破裝置
- 至少3 具。(市區雙層公車上下層,每層至少 3 具)
- 置放位置應滿足下列條件:
- 駕駛人附近應至少設置 1 具。
- 車輛前半段及後半段各應至少設置1 具。
- 車身兩側各應至少設置 1 具。
- 應於該裝置附近且於乘客輕易可視之處標示「車窗擊破裝置」之標識字體和操作方法,標識字體每字至少 4 公分見方。


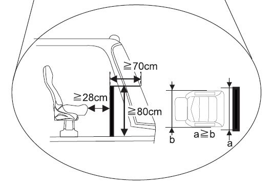
- 設於駕駛室上方之最前方乘客座椅應設欄杆或保護板與擋風玻璃區隔,欄杆或保護板上緣之後緣與擋風玻璃間之距離至少 70 公分,欄杆或保護板上緣距地板高度至少 80 公分,其寬度應能涵蓋該座椅之椅背對應寬度。
- 乘客座椅不得懸空設於安全門有效通道範圍內,且安全門通道設階梯之邊緣與座椅椅墊前緣至少 30 公分。其空間地板與其前方地板高度差逾 12 公分時應設置欄杆或保護板,欄杆或保護板上緣距地板高度至少 80 公分,欄杆或保護板寬度應能涵蓋該座椅之椅背對應寬度。
- 行李廂(若裝設者)應符合下列規定:
- 軸距逾 4 公尺之大客車,行李廂內最大淨高至多 100 公分。
- 中華民國九十三年六月三十日以前至公路監理機關登錄者,且未有違規裝設座椅載客之情形,其行李廂高度得不受至多 100 公分之限制。(99.7.1 修正)
原條文:(一)軸距逾4 公尺之大客車,行李廂內最大淨高至多 100 公分;但民國93年6月30日以前至公路監理機關登錄且車齡自新登記領照起未逾 10 年者,其行李廂高度得不受至多100 公分之限制。
- 不得設置座椅或臥舖。
- 不得設置邊窗。
- 交通部公路總局台北區監理所99.8.9北監車字第 0991010482 號函:
- 案由:有關行李廂違規裝設座椅載客登記管制案。
- 登載作業方式:
- 於公路監理電腦系統之「汽車車籍作業」畫面中「內貨廂長」欄位輸入「100」。
- 行車執照之「貨廂內框」欄位顯示「行李廂高度至多 100 公分」字樣予以管制登記。
- 交通部公路總局99.8.12路監牌字第 0990038042 號函:
- 案由:有關行李廂違規裝設座椅載客登記管制案。
- 對於大客車行李廂載運人客違規管制登記方式,原擬將「貨廂高」登錄之資料刪除,為考量未來或有查詢需求,該等資料保留備查不印照亦不做為檢驗依據,爰請依台北區監理所登載作業方式辦理並請轉知所屬知照。
- 其他
- 申請核定立位之大客車,應設置扶手或拉桿或拉環,且應於駕駛座之後部設置駕駛座欄杆。
- 軸距逾 4 公尺之長途車,應設置行李架,但有行李廂者得免設置,且其每一車門兩邊均應設置上下車扶手。